Pökomat P8/270 (T-Füße)Drucken
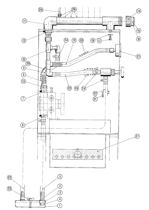
Explosionszeichnung: Lakeführung
Ersatzteile - Stückliste: // Pökomat P8/270 (T-Füße) // Lakeführung
| Pos. |
Menge |
Benennung |
Teilenummer |
Bemerkung |
Anzahl |
|
1 |
Ansaugfilter komplett |
01673 |
Pos. 1-4,23 |
|
| 1 |
1 |
Ansaugfilter |
01297 |
|
|
| 2 |
1 |
Filterdeckel |
01296 |
|
|
| 3 |
2 |
Schlauchstutzen |
05551 |
|
|
| 4 |
2 |
Muffe |
01333 |
|
|
| 5 |
1 |
Ansaugschlauch |
01585 |
|
|
| 6 |
1 |
Schlauchanschluss |
01320 |
|
|
| 7 |
1 |
Übergangsmuffe |
01321 |
|
|
| 8 |
1 |
Druckschlauchtülle |
00992 |
|
|
| 9 |
1 |
Druckschlauch |
01586 |
|
|
| 10 |
1 |
Schlauchbaum |
01334 |
|
|
| 11 |
1 |
Verteilrohr |
01260 |
|
|
| 12 |
1 |
Mutter |
05552 |
|
|
| 13 |
1 |
Überwurfmutter |
01145 |
|
|
| 14 |
1 |
Überwurfmutter |
01115 |
|
|
| 15 |
1 |
Verschlussstopfen |
01275 |
|
|
| 16 |
1 |
O-Ring |
05363 |
|
|
| 17 |
1 |
Sechkantschraube |
05024 |
|
|
| 18 |
1 |
U-Scheibe |
01140 |
|
|
| 19 |
1 |
Manometerschlauch |
01587 |
|
|
| 20 |
1 |
Ventilschlauch |
01588 |
|
|
| 21 |
1 |
Manometerschlauch |
00618 |
|
|
| 22 |
1 |
Rüclaufschlauch |
01589 |
|
|
| 23 |
1 |
Flügelmutter |
05600 |
|
|
| 24 |
10 |
Schlauchbride |
05346 |
|
|
| 25 |
8 |
Flexschlauch |
00653 |
|
|
| 26 |
8 |
Schlauchnippel |
05341 |
|
|
| 27 |
1 |
Reinigungsblock |
01316 |
|
|
| 28 |
1 |
Schutzschlauch |
01591 |
|
|
| 29 |
1 |
Schutzschlauch |
01590 |
|
|
| 30 |
1 |
Schutzschlauch |
01592 |
|
|
| 31 |
1 |
Schutzschlauch |
01593 |
|
|