Pökomat P14/280Drucken
Baugruppenübersicht
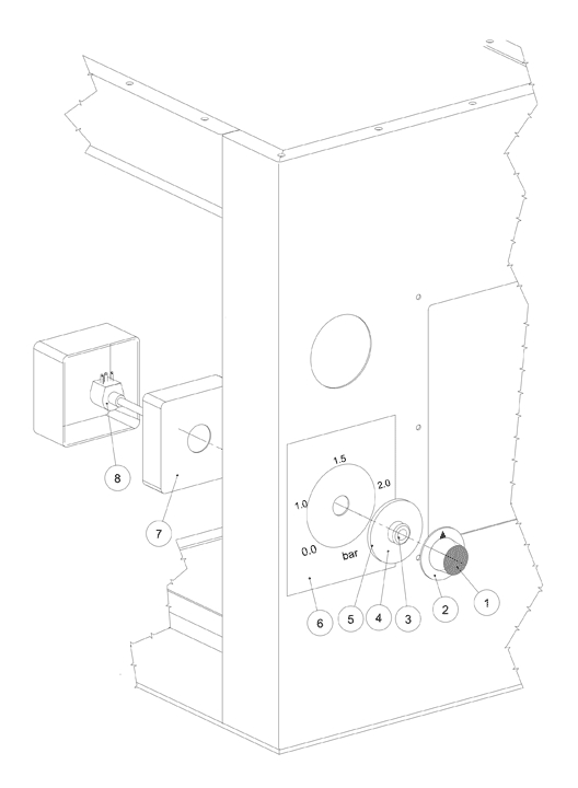
Bedientableau
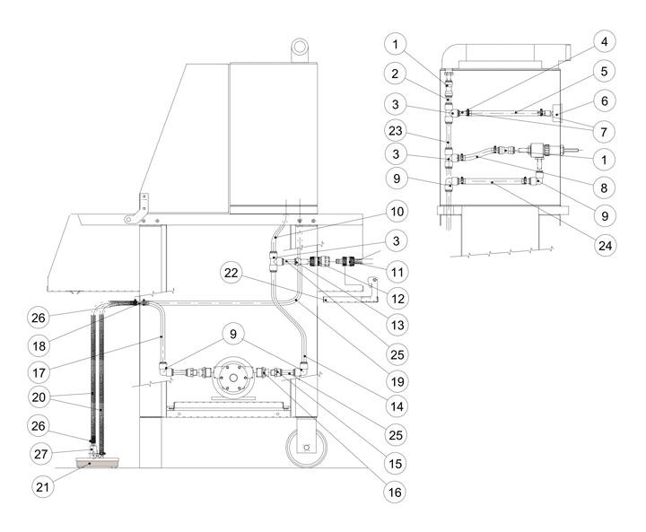
Druckluftführung...
Gehäuse
Fussgestell
Stützrahmen
Schutzabdeckung
Kurbeltrieb
Nadelführung
Verteilrohr
Antriebseinheit 5...
Antriebseinheit 6...
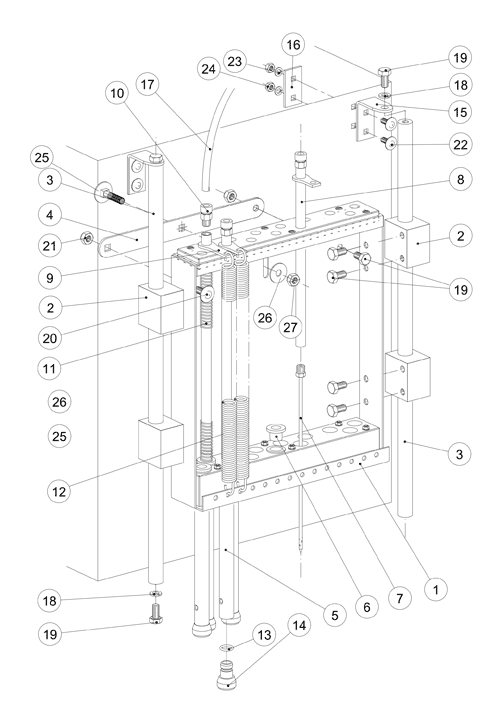
Vorschubantrieb
Vorschubgestänge...
Vorschub
Transportschlitte...
Einbau Messing-Pu...
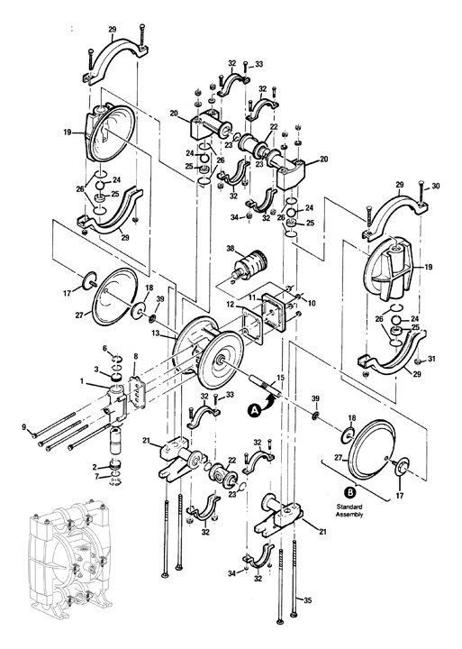
Messing-Pumpe
Einbau Inox Pumpe...
Pumpe INOX
INOX-Pumpe mit FP...
Einbau Membranpum...
Membranpumpe
Lakeführung
Ventil "Membranpu...
Ventil "SI und SL...
Potentiometer
Steuergehäuse
Zubehör
Optionen
Explosionszeichnung: Antriebseinheit 50 Hz
Ersatzteile - Stückliste: // Pökomat P14/280 // Antriebseinheit 50 Hz
| Pos. | Menge | Benennung | Teilenummer | Bemerkung | Anzahl |
|---|
| 1 | 1 | Flanschmotor | 09590 | ||
| 2 | 1 | Schneckenradgetriebe | 09591 | ||
| 3 | 1 | Befestigungswinkel | 09700 | ||
| 4 | 1 | Befestigungswinkel | 09593 | ||
| 5 | 1 | Antriebswelle | 09594 | ||
| 6 | 1 | Kurvenscheibe | 09595 | ||
| 7 | 1 | Distanzscheibe | 09596 | ||
| 8 | 1 | Passfeder | 09597 | ||
| 9 | 1 | Passfeder | 09598 | ||
| 10 | 1 | Scheibe | 09599 | ||
| 11 | 1 | Distanzring | 09636 | ||
| 12 | 1 | Seegering | 09637 | ||
| 13 | 4 | Federring | 05295 | ||
| 14 | 4 | 6kant-Schraube | 05023 | ||
| 15 | 4 | Federring | 05294 | ||
| 16 | 4 | 6kant-Schraube | 05003 |
0 Artikel