Pökomat P12-270Drucken
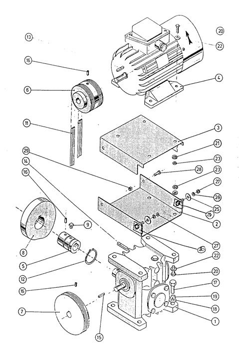
Explosionszeichnung: Antriebseinheit
Ersatzteile - Stückliste: // Pökomat P12-270 // Antriebseinheit
| Pos. |
Menge |
Benennung |
Teilenummer |
Bemerkung |
Anzahl |
|
1 |
Motor 0,75 kW |
01286 |
Sternschaltung |
|
|
1 |
Motor 0,75 kW |
01681 |
Sternschaltung |
|
|
1 |
Motor 0,75 kW |
01286 |
Dreieckschaltung |
|
| 1 |
1 |
Getriebe |
00616 |
|
|
| 2 |
1 |
Getriebeplatte |
00670 |
|
|
| 3 |
1 |
Motorplatte |
00671 |
|
|
| 4 |
1 |
Motor 0,75 kW |
01286 |
Dreieckschaltung |
|
| 5 |
1 |
Nabe |
01242 |
|
|
| 6 |
1 |
Riemenscheibe |
01244 |
|
|
| 7 |
1 |
Riemenscheibe |
01243 |
|
|
| 8 |
1 |
Kurvenscheibe |
01511 |
|
|
| 9 |
1 |
Mitnehmerbolzen |
01246 |
|
|
| 10 |
|
|
00000 |
|
|
| 11 |
1 |
Poly-V-Riemen |
01360 |
|
|
| 12 |
2 |
Seegerring |
05461 |
|
|
| 13 |
1 |
Passfeder |
05499 |
|
|
| 14 |
1 |
Passfeder |
05492 |
|
|
| 15 |
1 |
Passfeder |
05494 |
|
|
| 16 |
3 |
Gewindestift |
05222 |
|
|
| 17 |
4 |
Sechskantschraube |
05045 |
|
|
| 18 |
4 |
U-Scheibe |
05281 |
|
|
| 19 |
4 |
Federring |
05296 |
|
|
| 20 |
8 |
Sechskantschraube |
05026 |
|
|
| 21 |
8 |
Federring |
05295 |
|
|
| 22 |
8 |
U-Scheibe |
05280 |
|
|
| 23 |
8 |
Mutter |
05235 |
|
|
| 24 |
2 |
Flachrundschraube |
05216 |
|
|
| 25 |
2 |
U-Scheibe |
01153 |
|
|
| 26 |
2 |
Federring |
05294 |
|
|
| 27 |
2 |
Mutter |
05234 |
|
|
| 28 |
2 |
Sechkantschraube |
05003 |
|
|
| 29 |
2 |
Stoppmutter |
05249 |
|
|
| 30 |
2 |
Verdrehsicherung |
01826 |
|
|